Design of filling and unloading mechanism of bag-type rotary packing machine

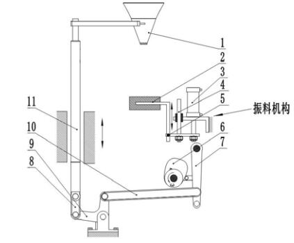
As shown in the figure below: As described in the filling and unloading mechanism scheme of the rotary packing machine , a weighing electronic metering device is selected to work with the filling and unloading mechanism. The schematic diagram of the filling and discharging mechanism is shown in Figure 3.11. The lifting cam rotates to drive the swing rod to swing, and the intermediate connecting rods (8, 9, 10) move to make the connecting rod (11) move up and down, and the hopper that is consolidated with it also Do lifting exercises. The unwinding operation is controlled by PLC, and the self-check function mentioned above is realized by the self-check device tied to the bag holding manipulator. After unwinding, the hopper rises to ensure the normal operation of the turntable components and avoid interference with it. There is an auxiliary mechanism in the mechanism, vibrating mechanism, which is controlled by the PLC system. The cylinder moves to drive the vibrating rod to rise and fall along the sliding track of the guide rod to realize the vibrating function. The vibrating mechanism is suitable for fluffy materials, making it easier to fill more materials and also easier to seal, making the seal more smooth and beautiful. For materials such as monosodium glutamate, rice, etc., it does not need to be vibrated and can be enriched by its own gravity. Therefore, the vibrating mechanism is an optional mechanism.


Feeding and vibrating mechanism of rotary packing machine

1- Hopper 2- Vibrating rod 3- Cylinder 4- Guide rod 5- Fastening screw 6- Cam 7- Swing rod 8, 9, 10, 11- Connecting rod

Copyright © Hualian Pharmaceutical Machinery

Skype

hualianpm